双11、双12、年终大促、年货节、腊八节······别人投放的钻展无线效果咋就这么好?为啥我的就不行?钻展无线投放也是有技巧滴,今天我就和大家分享下我的无线端的钻展投放,绝对是好到停不下来哦!
初识无线钻展是在老展位了,那还是592*296尺寸的时候;现在大多数情况下大家投放的都是640*200的钻展展位,因为相对于新版的无线,同样的预算旧版无线是消耗不出去钱了,并不能满足我们大预算投放想要达到的效果。在钻展的长期投放中,一直是以PC端的投放占据主要投放思路。
但在2015年的投放中,我们可以很明显的感觉到,店铺的无线端流量占比加大,甚至有些店铺的无线流量占比可以达到百分之70以上,店铺销售额无线的占比也很高,这个时候我就把钻展投放的主要消耗转移到了无线上来,开始研究如何才能让无线的钻展数据飞起来··(以下为截图的两个店铺无线占比情况)


在店铺无线端流量占比这么大的情况下,我们的钻展应该如何投放?其实无线端钻展面临的情况无外非和PC相似:点击花费高或者是转化低。针对以上两种情况的发生我们可以分析造成的原因,总结如下:
(1)创意不够好
(2)展位选择不对
(3)定向不够精准
找到问题的原因,我们就要开始寻求解决问题的办法了。对策如下:
1.创意上:钻展创意要和宝贝的风格以及店铺的风格相统一(可去钻展后台创意COOL借鉴),文案上不用很多,做出的素材简洁大方即可。



2.展位选择:640*200和592*296以及其他的陌陌和一些资源
在无线端的投放展位上,我向大家建议以下两个尺寸的展位,简称:旧版无线(592*296)和新版无线(640*200)。旧版无线点击花费低,但是流量小,大预算容易消耗不完。新版无线流量大,点击花费低,能够满足大预算投放的需求。其他的陌陌等无线资源投放的效果主要为点击花费低,但是投产不是很乐观哦


3.定向:建议使用访客定向和兴趣点定向,有DMP定向的优先使用DMP定向。
店铺基础好的老客户比较多的大家只圈定种子店铺就可以,如果老客户不够多就去找自定义店铺也就是相似店铺,这样的话也可以加大圈定的流量范围。(找自定义店铺的维度:①店铺风格②单品风格③宝贝的价格④宝贝的销量⑤店铺的销量⑥店铺的信誉等)



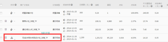
4、“0点计划”
从创意、展位、定向上和大家做一个简单的分享之后,还有一种投放思路现在很少有人投放的,大家可以借鉴下我投放的这种思路,你也可以尝试下哦(数据是说话的根本,简称0点计划)
“0点计划”计划详细一览表如下


计划投放时间选择是从0点到早晨的9点,注意是均匀投放不是尽快投放哦

展位上选择640*200的展位,在创意上使用平时的创意就好,主要是投放时间的区别。

在定向上:结合自己平时使用的效果好的定向来。也可以按照我总结出来的,你的老客户基数足够大你就使用种子店铺,老客户不够多就使用自定义店铺。最后的出价上一定是要比系统的建议价格高的,高出1.5倍以上就好。最后跟大家分享下我投放的店铺的数据汇总情况,有心动的小伙伴就赶快行动吧,无线端这样玩耍也很好·····



看到这些点击花费超低,回报超好的数据,瞬间觉得钻展无线美美哒哒~赶快行动吧。新年即将来袭,记住给亲说的那几点哦,总结如下:
1.年末钻展投放无线端必不可少
2.无线夜间计划单独投放,小预算,时间选择晚间时间段
3.定向的选择可以根据自己测试出来的定向做应用
4.数据优化多分析,素材展位和定向
乐发网超市批发网提供超市货源信息,超市采购进货渠道。超市进货网提供成都食品批发,日用百货批发信息、微信淘宝网店超市采购信息和超市加盟信息.打造国内超市采购商与批发市场供应厂商搭建网上批发市场平台,是全国批发市场行业中电子商务权威性网站。
本文来源: 钻展年终投放-无线起飞





